自垂百叶
此风口用于具有正压的空调房间自动排气,通常情况下靠风口的百叶自重而自然下垂,隔绝室内外空气交换,当室内气压大于室外气压时,气流将百叶吹开而向外排气,反之室内气压小于室外气压时,气流不能反向流入室内,该风口有单向止回作用。
自垂百叶结构示意图

单层固定百叶
单层固定百叶叶片倾斜设计,具有防止直吹风作用,常用于洗漱间、卫生间的回风,电梯、管道口及检修口的装饰,防排烟、排风的侧送风或回风,可以与人字闸配套使用,此系列风口的叶片为固定式。
单层固定百叶结构示意图
单层可调百叶
单层可调百叶风口,叶片角度可在0-180°范围内任意调节,将叶片调成不同角度,可得到不同的送缝距离和不同的扩散角,也可以配置OBD人字闸,将风量和风速控制在适当范围内。
单层可调百叶结构示意图
防水百叶
防水百叶风口,系铝型材制成,其叶片设计成特殊状,具有防止雨水溅入内部的功能,一般安装在外墙上作为新风口。
防水百叶结构示意图
门铰回风百叶
门铰式百叶是在固定百叶的基础上增加一个边框和特制门铰,内胆和边框相对分离,通过特制门铰连接在一起。用手轻拔内胆两边弹簧门锁,内胆就像门一样打开,常与过滤网配套使用,多用于回风,方便清洗过滤网。
门铰回风百叶结构示意图

球形喷口
球形喷口由于送风距离大,特别适用在空调送风口与人员活动范围有较大距离的场合。如各种大厅及大型装配车间等面积很大的场所,采用天花板送风口不能将气流均匀送至所需地点时则应考虑采用球形喷口送风,以解决远射程的送风问题。喷口采用空气动力学结构设计,其噪声低、射程远、喷口表面光洁美观、线条过度均匀,适用于各种室内条件和技术要求,可用于各种空调系统。
球形喷口结构示意图

旋流风口
旋流风口具有送出旋转达射流,诱导比大,风速衰减快等特点;在通风空调系统中可做大风量大温差送风以减少风口数量;安装在天花板或顶棚上,可用于3米以内低空间,也可用于中高度大面积送风,高度甚至可达10米以上。调节起旋器在风口中位置,可获得吹出型、散流型等不同气流形式,此时风速基本不变。
旋流风口结构示意图

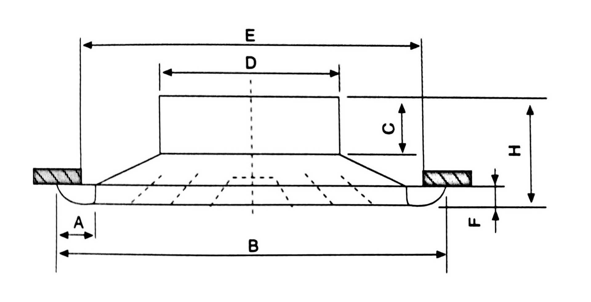
圆形散流器
圆形散流器用于冷暖送风、常安装在顶棚上吹出气流呈贴附(平送、下送)型,其结构为多层锥面型。由于室内诱导气流大于排风量,因此吹出气流减速较快。因相对任意大小面积来说可以供给较大风量,而且在给定的风量范围内扩散半径可大小变化,常与圆形对开调节阀配套使用。
圆形散流器结构示意图

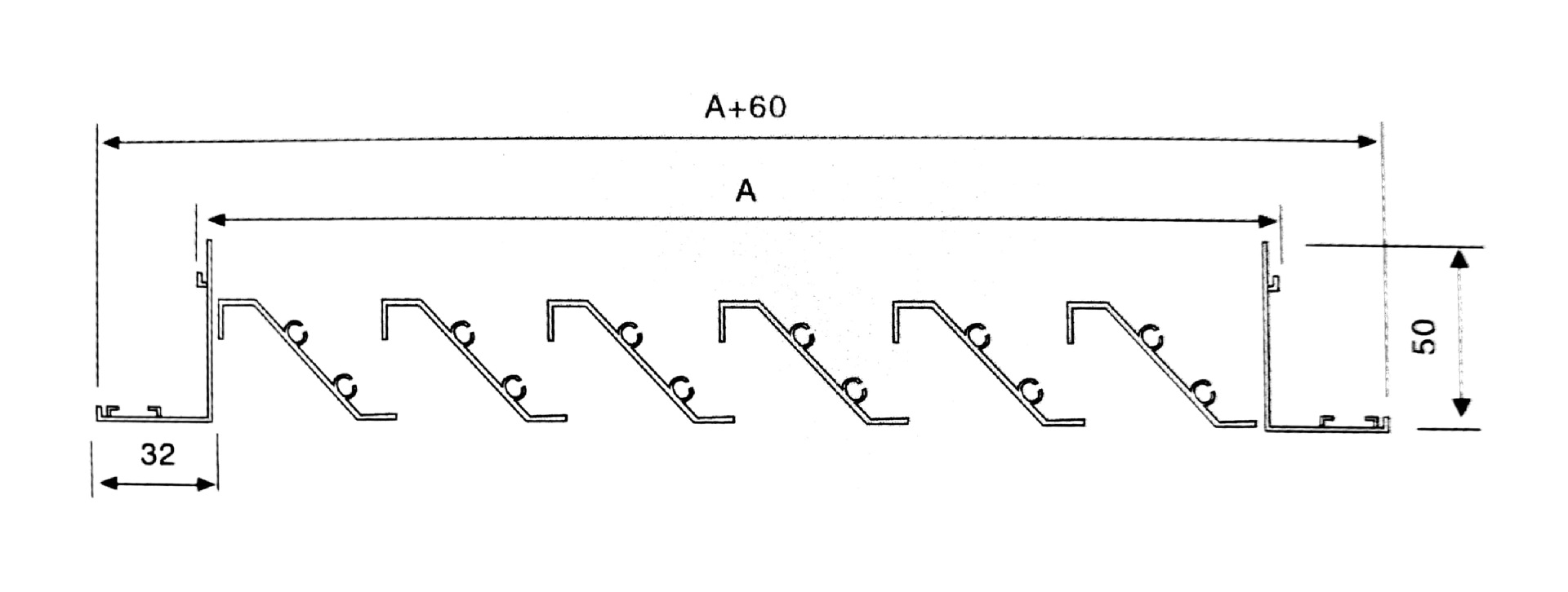
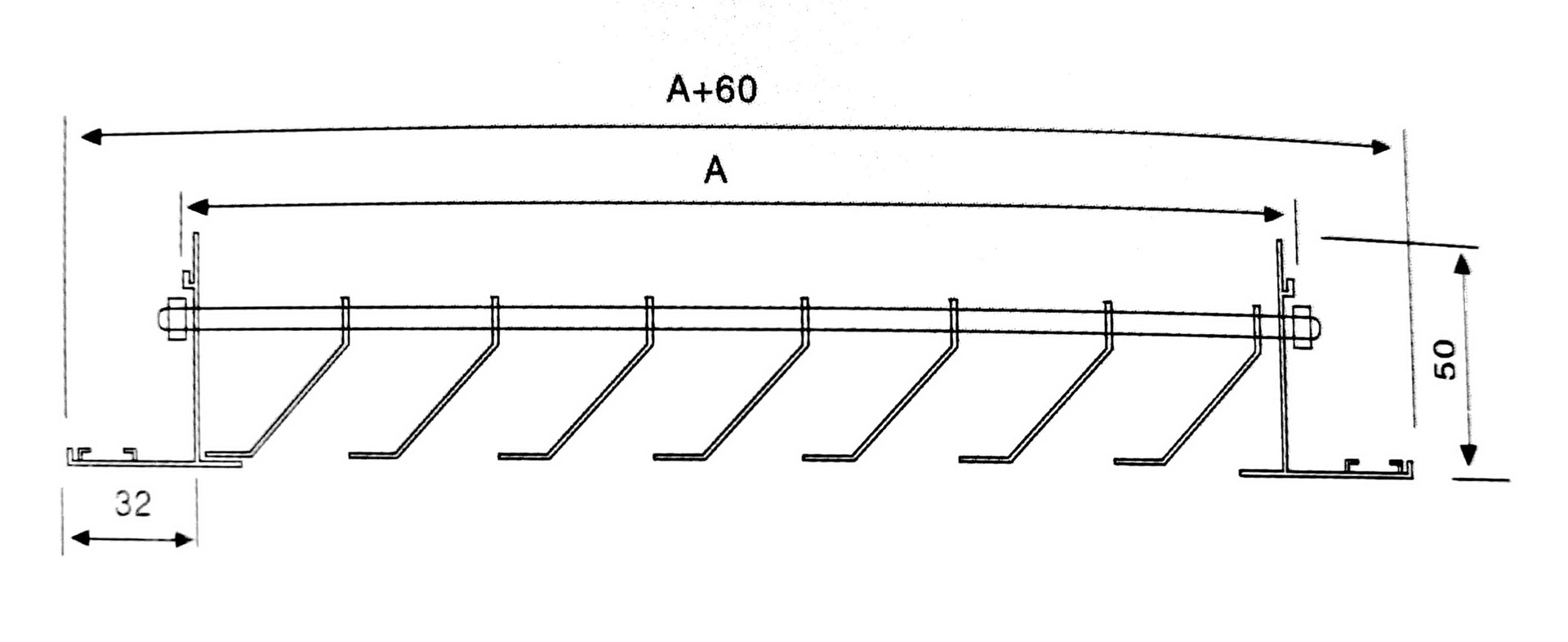
方形散流器
方形散流器具有线条挺直简洁,叶片倾角37°,具有扩散作用,气流属贴附(平送)型,整个叶片与边框采用分离结构,整个叶片可以从边框中轻易取出,方便安装和清洗,还可以根据空间特点选用不同方向的散流器,也可以与人字闸配套使用。适用于播音室、医院、剧场、教室、音乐厅、图书馆、游艺厅、剧场休息室、一般办公室、商店、旅馆、饭点及体育馆等。
方形散流器结构示意图

双层可调百叶
双层可调百叶风口,叶片角度可在0-180°范围内任意调节,将叶片调成不同角度,可得到不同的送缝距离和不同的扩散角,也可以配置OBD人字闸,将风量和风速控制在适当范围内。
双层可调百叶结构示意图

风口的型式代号与名称按下表规定:
型号编制按以下规定:













第1年


抗震支架 管廊支架 成品水管风管桥
康美风离心风机 CFG-I柜式离心风机
康美风轴流风机 HTF轴流式消防排烟 